0.8 ml For cat Imidacloprid and Moxidectin Drops
Ingredients:
Imidacloprid, Moxidectin
Appearance:
Yellow to brown yellow liquid.
Specifications:
0.8ml: Imidacloprid 80mg + Moxidectin 8mg
Storage: Sealed, stored at room temperature.
Shelf life: 2 years.
Imidacloprid and Moxidectin Drops for cats is a kind of pet deworming tablets to help deworming cats. They only require a drop on the back of the neck to kill parasites in and out of the body, which is safer and does not irritate the stomach or vomit. After the first dose, imidacloprid was rapidly distributed to the body surface of the cat on the same day and remained on the body surface throughout the dosing period. 1 ~ 2 days after the treatment, the mover g d in the cat reached the highest blood drug concentration distribution throughout the body within one month of discharge and slowed metabolism. It's the Wormeze Feline Liquid,wormeze liquid for cats,Wormer for Cats.
Indications:
For the prevention and treatment of internal and external parasitic infections in cats. Prevention and treatment of flea infestation (Ctenocephalic felis), treatment of ear mite infestation (Itchy ear mite), treatment of gastrointestinal nematode infection (adults, immature adults and L4 larvae of Toxocara felis and Anticostomum angiformis) . And can be used as an adjuvant treatment of allergic dermatitis caused by fleas.



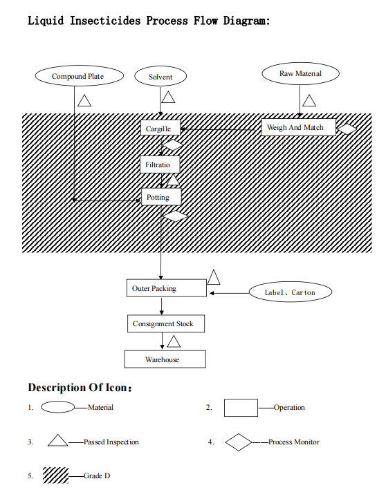
Production process:

Parasites are ubiquitous









Certificate of Honor:

Cooperation Cases:

FAQ:


